Характеристики
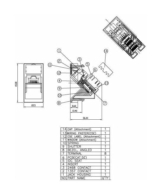
Категория (TIA/EIA) | 5e |
Тип разъема | RJ45 |
Количество модулей | 1 |
Цвет | белый |
Защита портов | пылезащитные шторки |
Высота, мм | 36.44 |
Ширина, мм | 22.5 |
Длина, мм | 45 |
Максимальный ток, А | 2 |
Максимально допустимое напряжение, В | 150 |
Контактное сопротивление (макс.) | 20 мОм |
Сопротивление изоляции (мин.) | 500 МОм |
Испытательное напряжение | 1000 В / 60 Гц / 1 мин. |
Материал корпуса | АБС-пластик |
Материал модуля | АБС-пластик |
Материал пружинных контактов | фосфористая бронза с напылением золотом |
Материал корпуса IDC-модуля | поликарбонат (PC) |
Материал разъемов для печатной платы | полибутилентерефталат (PBT), усиленный стекловолокном |
Материал IDC-контактов | фосфористая бронза с напылением золотом |
Материал печатной платы (PCB) | 2-х слойный стеклотекстолит (FR-4) |
Относительная влажность (макс.), % | 93 |
Температура хранения | -40 °C ... +70 °C |
Температура эксплуатации | -10 °C ... +60 °C |
Цена по запросу
В наличии: 1379 шт.
Способы доставки
Способы оплаты
Заказ обратного звонка
Запросить товар
Быстрый заказ
Спасибо за заказ! С Вами свяжется наш менеджер и уточнит детали заказа, а также время доставки.
Произошла ошибка. Пожалуйста, попробуйте ещё раз или свяжитесь с нами по телефону или e-mail.
Товар добавлен в корзину!